Red Mural, by Amber Hasselbring

A Butterfly Species Settles in San Francisco’s Market Street

Two advocates track Western tiger swallowtails through the city and use art to encourage residents to think of the fluttering creatures as neighbors

Firefly (Photinus pyralis)

Biomimetic Design Means We’ll All Be Living A Bug’s Life

Researchers and designers looking to nature for inspiration have literally one million reasons to reveal the secrets of insects

Food service crew workers

Eating on the March: Food at the 1963 March on Washington

Organizing an event that large was a formidable task in and of itself. Tackling the issue of handling food for the masses was another issue entirely

Optical art

These Patterns Move, But It’s All an Illusion

What happens when your eyes and brain don’t agree?

Sprites over Red Willow County, Nebraska, on August 12, 2013

Scientists Capture Rare Photographs of Red Lightning

Graduate student Jason Ahrns and colleagues hunt the skies for sprites—fleeting streaks and bursts of color that can appear above thunderstorms

None

A History of 1945, Discoveries at Sea, Ben Franklin’s Sister and More Books Worth Your Read

Some of the best books to put on your reading list

Still from an animation illustrating the concept behind BIG’s design for Lego House

BIG Plans for a Lego Museum in Denmark

Some architects played with Legos as a child. And some never stopped playing with them

Bottles of imported sake line the shelves at True Sake, in San Francisco. Soon, the small retail shop will begin carrying sake made in America.

Can You Taste the Difference Between American and Japanese Sake?

Sake has been brewed for thousands of years in Japan. Now, American brewers are starting to make sake—but is it any good?

The seemingly simple coffee cup sleeve represents the genius of design.

How the Coffee Cup Sleeve Was Invented

The cardboard sleeve became the ubiquitous finger-saver for coffee fanatics everywhere

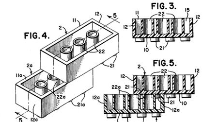
The patent that ignited the dreams of generations of architects

Lego Architecture Studio Brings Modernism to the Play Room

The childhood toy becomes an architect’s dream come true

None

Cosmic Portraits Created From Hubble Space Telescope Images

Sergio Albiac generates images of people by collecting their head shots and replacing pixels with snippets from pictures of stars and galaxies

Scuba diving with sharks is an increasingly popular tourist activity in Australia and South Africa.

Chainmail, Metal Spikes and Unbreakable Material: Can We Design a ‘Shark-Proof’ Wetsuit?

For years, inventors have tried to create a wetsuit capable of withstanding a shark’s deadly bite

None

Is There a Liberal Bias to Political Comedy?

There is a liberal bias in America’s political comedy scene, says Alison Dagnes. What gives?

None

Shark Repellent: It’s Not Just For Batman Anymore

It was actually first developed during World War II in an effort to help save the lives of seamen and pilots who had to await rescue in open water

None

These Ocean Waves Look Like Liquid Sculptures

Photographer Pierre Carreau captures waves mid-break, showing the surf’s delicate balance of power and fragility

The panel at Food in the Garden’s August 1 event prepares to delve into the issues surrounding community garden and food education.

Can Gardening Change the World?

The American History Museum celebrates our country’s lush food history—and explores its food future—with the Food in the Garden series

None

Sharks Made Out of Golf Bags? A Look at the Big Fish in Contemporary Art

Intrigued by the powerful hunters, artists have made tiger sharks, great whites and hammerheads the subjects of sculpture

This very bottle of beer lies in a shallow grave of redwood duff in Humboldt Redwoods State Park, in northern California. Can you find it?

Find The Beer: A Trail of Stashed Bottles From Alaska to California

Traveling the West Coast? Like beer? Then consider pulling over at these highway locations from Alaska to California and finding the bottles of beer

None

Landscape Through a Car Window, Darkly

A new exhibition presents 1970s photography that challenged the traditional American landscape

Bacterial Dragon (Paenibacillus dendritiformis), by Eshel Ben-Jacob

Colonies of Growing Bacteria Make Psychedelic Art

Israeli physicist Eshel Ben-Jacob uses bacteria as an art medium, shaping colonies in petri dishes into bold patterns

Page 200 of 365